C'est un super site à conseiller.
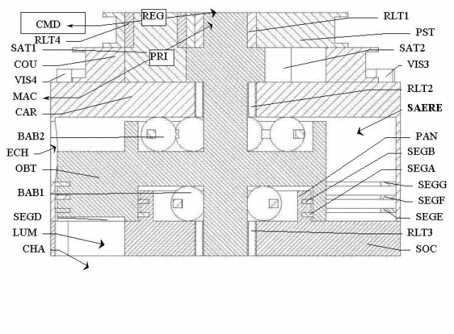
Voici un petit gif de SAERE
Source : calage variable des soupapes pour MPRBC et POGDC par Sycomoreen
@+




Si dans ces conditions on bloque la couronne et on fait tourner le planétaire à 6 tours/seconde...à combien tourne le support de planétaires ?
en joker :
on inverse le nb des dents : le planétaire passe à 22 et les satellites à 11....même question ?



Remundo a écrit :Voici un petit gif de SAERE
Source : calage variable des soupapes pour MPRBC et POGDC par Sycomoreen
@+


Remundo a écrit :Hello Pascal,
SAERE est un peu en stand-by pour l'instant, car je suis préoccupé par OPALE et CATHI. Je dois mettre en route ma deuxième centrale PV de 9,45 kWc.
Toutefois, SAERE n'a pas manqué d'attiré l'attention de grands constructeurs automobiles, dont certains s'investissent particulièrement dans le calage variable des soupapes (VVT),
Comme pour bien d'autre chose, la position d'attente prévaut jusqu'à nouvel ordre dans le monde industriel.
Cependant, pour de bonnes entreprises, il faudrait très peu de temps et d'investissement pour sortir des SAERE en prototype, car c'est un accessoire simple qui se greffent aussi bien sur des architectures N cylindres/vilebrequin que sur des moteurs non conventionnels (MPRBC ou POGDC).
Le brevet SAERE est en cours d'instruction à l'INPI ; d'ores et déjà il est sorti vierge de toute antériorité du premier coup.
@+


Revenir vers « Moteurs spéciaux, brevets, réduction de consommation de carburant »
Utilisateurs parcourant ce forum : Aucun utilisateur inscrit et 33 invités